公司信息,社会责任,新闻,展会活动,行业洞察等等
以集成电路设计为基础,开展以融合通信为平台的技术研发;布局“芯片、软件(模组)、终端、系统、信息服务”产业链,聚焦能源互联网、智能化这两个战略新兴领域,打造国际一流企业
依托成熟的电力线载波通信技术,结合WIFI、蓝牙、RF等通讯方式,开展以融合通信为平台的技术研发,从“芯”开始,构建一个安全、智慧、绿色的智能化系统。
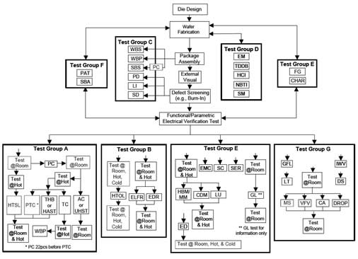
开元官方网站建立程序确保产品的可靠性符合客户的要求。公司依据AEC-Q100的要求对产品的可靠性进行验证。
可靠性验证项目主要分为六组:
Group A: 环境应力加速验证Accelerated Environment Stress TestsGroup G: 空腔体封装综合测试 Cavity Package Integrity Tests(不适用)

Copyright 2016-2021 开元官方网站版权所有 沪ICP备07005227号-1
隐私条款